Prodej pozemku pro bydlení, Blatná, 954 m2

Blatná


2 150 Kč /za metr čtvereční
HYPOTÉKA od 10 Kč /měs.

(včetně provize)


Regionální dodavatelé v Blatné

Výkup a prodej starého nábytku

Popis

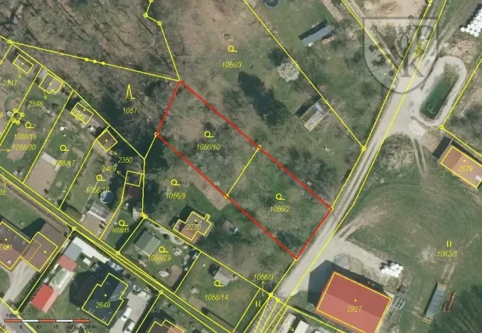
Stavební pozemek, původně využívaný jako zahrada (několik starších ovocných stromů), územním plánem určen ke stavbě rodinného domu. Výměra cca 950 m2.
Část pozemku zarostlá náletovými dřevinami, dle požadavku kupující strany lze před prodejem pozemek na náklady prodávajícího zrekultivovat.
Vybavení: El. energie, kopaná studna, možnost napojení na veřejný vodovod, dřevěná zahradní chatka, zemní sklep.
Poloha: Na severozápadní okraji města Blatná, ulice Chlumská. Mírný jihovýchodní sklon. Nově přístup po asfaltové komunikaci.
V místě veškerá občanská vybavenost (střední a základní školy, poliklinika, obchody, restaurace, sportoviště,...). Praha – asi 100 km.
Využití: Ke stavbě rodinné domu k trvalému i rekreačnímu bydlení, umístění mobilheimu, jako zahrada, sad, investice….
V případě vážného zájmu další inf. na tel. č.: 604 518 400, 383 423 522, 383 423 357.
Další nabídky na: www.realityblatna.cz

Cena
2 150 Kč /za metr čtvereční Spočítat hypotéku
Poznámka k ceně
včetně provize
Aktualizováno
16. 1. 2026
Adresa
Blatná
ID
22011
Stav objektu
Velmi dobrý
Lokalita objektu
Okraj obce
Plocha pozemku
954 m2
Elektřina
230V
Komunikace
Asfaltová
Doprava
Vlak, Silnice
Voda
Studna
Bezbarierový přístup

Máte zájem o tuto nemovitost?

Tímto, v souladu s nařízením Evropského parlamentu a Rady (EU) 2016/679, v platném znění, prohlašuji, že mi je alespoň 16 let a uděluji tak svůj souhlas se zpracováním zadaných údajů (jméno, telefon, e-mail, ip adresa) společnosti B3 Technology, s.r.o., IČ: 07330600, se sídlem Novostavby 126/23, 435 11 Lom (správce dat), za účelem předání dotazu z tohoto formuláře Vámi vybranému inzerentovi a zpětného kontaktování mé osoby. Osobní údaje bude správce zpracovávat manuálně i automaticky přímo prostřednictvím svých zaměstnanců. Informace předané tímto formulářem budou uloženy v databázi správce maximálně po dobu 10 let. Odvolání souhlasu s uložením a zpracováním poskytnutých dat lze e-mailem na info@realitymat.cz. V případě podezření na neoprávněné použití Vámi poskytnutých údajů máte právo předat podnět k šetření Úřadu pro ochranu osobních údajů. Více informací
Chystáte se prodat nemovitost?
Pomůžeme Vám!

Kontakt

REALITY BLATNÁ - RNDr. Petr Kerndl

REALITY BLATNÁ - RNDr. Petr Kerndl

Přihlášení k odběru

Nenechte si ujít nejnovější nabídky prodeje pozemků pro bydlení v Blatné.

Podobné nabídky